王彬斌您身边的专业知识产权律师13538982365
要不是PS4跨屏联动功能,PSVita的销量可能已经惨到不忍睹,而这款曾被寄予厚望的掌机也被很多玩家戏称作“高级PS4手柄”。
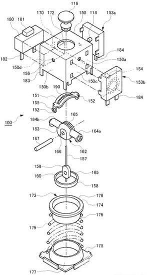
近日,一份索尼新专利曝光,内容是面向掌机的全新游戏杆设计方案,其中最大的亮点在于加入了类似主机手柄的L3/R3按键。
掌机的按键布局一直在不断像家用机手柄靠拢
对此,有观点认为,索尼的下一代掌机将更加突出与家庭游戏主机的关联性,加入L3/R3键便可以完整实现手柄功能。
不知道索尼的下一代掌机是不是还会加入L2/R2肩部案件呢?
专利中还提到了按压操作。因为说明图样采用的明显是PSV,所以有玩家猜测这和新版PSV相关。新型号的PSV或者索尼新的掌机可能会给模拟游戏杆加入这种更加复杂的强制反馈系统,以及在掌机上长期缺席的L3R3键。
专利中提到了负荷开关的画面。也就是说游戏中角色的重量,物品的体积等信息都可以对手感造成影响。这个系统需要游戏在设计开发时就做许多工作,玩家也对手感能有许多自定义空间。这个技术对于提升模拟驾驶游戏的手感,还有提升QTE操作的体验很有帮助。索尼今后的掌机游戏会用上这样创新的操作能力吗?

索尼申请掌机摇杆新专利
王彬斌您身边的专业知识产权律师13538982365